Pojavio se nacrt tajne metode kontrole uma putem televizije: Napravili su i patent, djeluje zastrašujuće

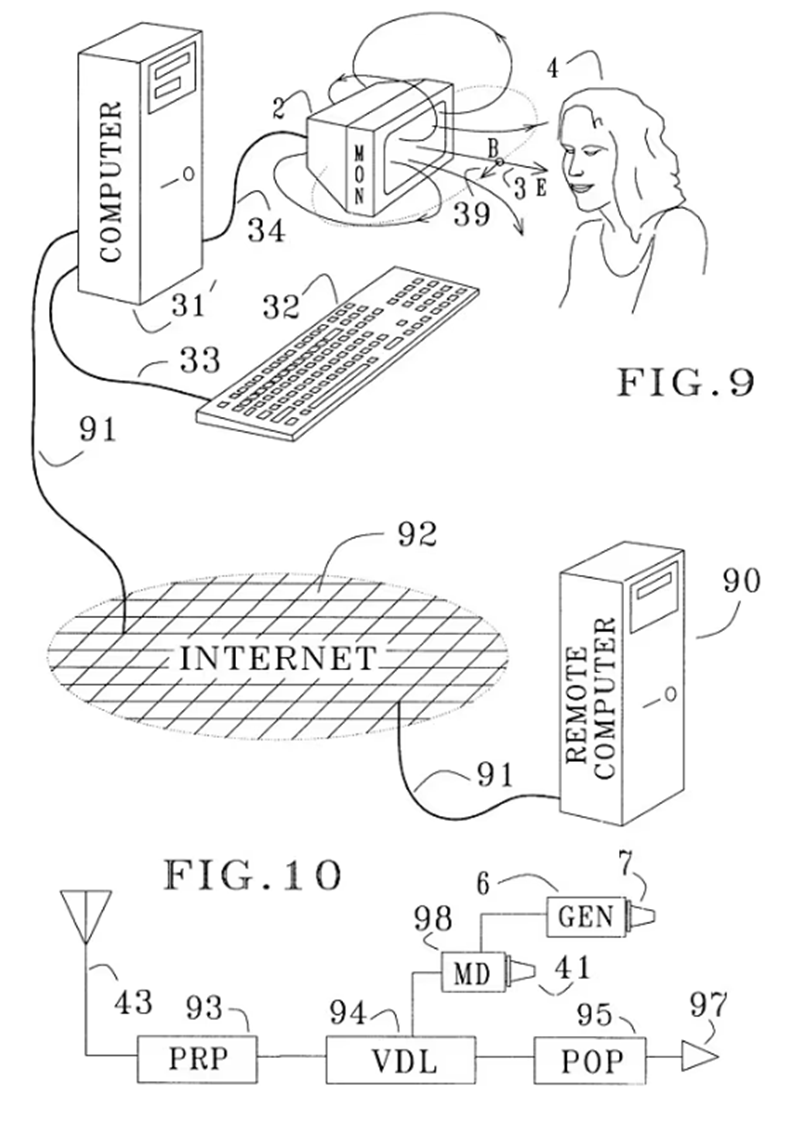
Nacrt neobičnog izuma koji navodno koristi televizore i računala za utjecaj na ljudski um ponovno je isplivao na površinu – ovaj put na društvenim mrežama, gdje je izazvao lavinu reakcija. Riječ je o američkom patentu pod nazivom „Manipulacija živčanim sustavom elektromagnetskim poljima s monitora“, koji opisuje tehniku utjecaja na tijelo i um pomoću nevidljivih elektromagnetskih polja koja emitiraju zasloni, osobito stariji CRT monitori i televizori kakvi su bili uobičajeni početkom 2000-ih.
Patent detaljno navodi da vrlo slaba elektromagnetska polja, koja pulsiraju na određenim niskim frekvencijama, mogu izazvati mjerljive fiziološke učinke kod ljudi. Ti impulsi, prema dokumentu, mogu stimulirati kožu na način koji djeluje na osjetilne sustave ljudskog tijela.
Kako bi tehnologija trebala funkcionirati
Prema opisu iz patenta, pojedini računalni monitori i starije televizijske cijevi prirodno emitiraju pulsirajuća elektromagnetska polja prilikom prikazivanja treperećih ili pulsirajućih slika. Teoretski, to bi značilo da bi se kontroliranjem tih impulsa sa zaslona moglo utjecati na živčani sustav osobe koja se nalazi u blizini.
U dokumentaciji se navodi da se pulsiranje može ugraditi izravno u video sadržaj ili dodati signalu kao suptilni sloj, odnosno putem jednostavnog računalnog programa. U određenim uvjetima čak i impulsi preslabi da bi ih ljudsko oko primijetilo, takozvani subliminalni impulsi, mogli bi proizvesti opisane učinke.
Patent je izvorno podnesen 2001. godine, a ponovno je postao viralan nakon što je od ponedjeljka pregledan više od 200.000 puta na društvenim mrežama. Ipak, patent je istekao 2021. godine, što znači da je sada u javnoj domeni te ga svatko može slobodno koristiti, kopirati, razvijati ili unapređivati bez kršenja patentnih prava ili plaćanja naknade.

Teorije zavjere i tvrdnje o „ispiranju mozga“
Ponovno otkriće dokumenta potaknulo je brojne teoretičare zavjera na tvrdnje da su nepoznate strukture još od izuma televizije koristile zaslone za nadzor i manipulaciju gledatelja.
Jedan korisnik Instagrama koji je podijelio patent napisao je: „To više nije teorija zavjere… Vaš televizor je alat za ispiranje mozga kojim vas se manipulira.“
Druga osoba ustvrdila je: „Ne možete preplaviti živčani sustav u razvoju umjetnim frekvencijama i očekivati da neće biti biološkog učinka. Ovo nije pitanje straha. Ovo je pitanje fizike.“
Tko stoji iza patenta?
Autor patenta bio je Hendricus G. Loos, fizičar iz Kalifornije koji je tijekom 1970-ih i 1980-ih radio i za NASA. Prema pisanju lista Orange County Register, Loos je preminuo 2017. godine.
U patentu je tvrdio da bi signali mogli utjecati na autonomne funkcije ljudskog organizma, poput otkucaja srca ili probave. Izum je 2003. godine službeno dobio patentni broj pri United States Patent and Trademark Office te je klasificiran pod područjem „magnetoterapije“, koje obuhvaća uređaje koji koriste magnetska polja za zdravstvene ili fiziološke učinke.
Neprofitna organizacija PQAI, koja razvija alate temeljene na umjetnoj inteligenciji kako bi javnosti olakšala pretraživanje i razumijevanje patenata, nedavno je analizirala Loosov izum. Istraživači su pritom istaknuli da moderni LED zasloni emitiraju znatno slabija elektromagnetska polja, zbog čega tehnologija danas možda ne bi djelovala jednako bez dodatnih preinaka, koje su sada, s obzirom na istek patenta, svima dostupne.

Tehnički detalji: frekvencije, koža i živčani impulsi
Izvorna manipulacija odnosila se prvenstveno na starije monitore koji prirodno emitiraju elektromagnetska polja prilikom osvježavanja slike ili promjene svjetline. Loos je naveo da je ključno učiniti da slika na zaslonu vrlo blago pulsira ili treperi na niskim frekvencijama između 0,1 i 15 herca, što je međunarodno prihvaćena mjera frekvencije.
Takav učinak mogao se postići jednostavnim softverom koji ritmički prilagođava svjetlinu. Loos je također napomenuo da bi se televizijski signal mogao izravno modificirati ugradnjom impulsa u video prijenos ili radijski signal.
Prema patentu, taj bi proces odmah djelovao na kožu osobe koja se nalazi na udaljenosti od nekoliko stopa od zaslona, dok pulsirajuća elektromagnetska polja induciraju sitne električne struje koje utječu na način na koji živci prenose signale. Što je veća površina kože izložena polju, to bi učinak bio snažniji jer bi poticao osjetilne vibracije i posredno utjecao na mozak i živčani sustav, a da osoba pritom ne bi bila svjesna onoga što se događa.
Impulsi su, prema opisu, mogli biti toliko slabi da se smatraju nevidljivima, a Loos je vjerovao da bi metoda mogla djelovati putem skrivenih izmjena u videozapisima ili programima. Dijagrami priloženi uz patent prikazivali su kako bi se takvi skriveni signali mogli prenositi u mozak putem televizora, prijenosnih digitalnih uređaja pa čak i putem interneta.
NASA, istraživanja oblaka i povijest eksperimenata
Iako je Loos poznat po ovom patentu, njegov raniji rad za NASA-u bio je usmjeren na fiziku oblaka. Spominjao se u više izvješća u sklopu planiranja Laboratorija za fiziku atmosferskih oblaka, eksperimentalnog postrojenja za proučavanje oblaka u uvjetima niske gravitacije, vjerojatno u kontekstu istraživanja svemirskog šatla i mikrogravitacije.
Istodobno, deklasificirani dokumenti CIA ranije su otkrili da je američka vlada tijekom 1970-ih pokušavala usavršiti metode kontrole uma, često korištenjem psihoaktivnih tvari koje mijenjaju funkciju mozga.
Program MKUltra, zloglasni projekt iz doba Hladnog rata, ostao je sinonim za takve eksperimente. Nedavno je i kongresnik Tim Burchett iz Tennesseeja ustvrdio da programi kontrole uma i danas postoje. U studenome je, bez pružanja dokaza, izjavio da je neuspjeli atentator na predsjednika Thomas Crooks bio psihološki manipuliran putem interneta tehnikama koje podsjećaju na MKUltra.
Između znanstvenog patenta i digitalne paranoje
Činjenica da patent doista postoji i da je bio službeno registriran ne znači automatski da je tehnologija ikada primijenjena ili da djeluje kako je opisano. Ipak, kombinacija tehničkog jezika, povijesnih vladinih eksperimenata i današnje digitalne kulture dovoljna je da ponovno rasplamsa rasprave o granicama tehnologije i ljudske percepcije.
Dok jedni upozoravaju na potencijalne biološke učinke umjetnih frekvencija, drugi podsjećaju da patent ne predstavlja dokaz o stvarnoj primjeni. Ono što je sigurno jest da je dokument, iako star više od dva desetljeća i pravno slobodan za korištenje, ponovno postao gorivo za rasprave o tome koliko su zasloni doista pasivni prozori u svijet – a koliko potencijalni alati utjecaja.